특허와 비지니스 (13)

2019.10.30 21:35:36



안녕하세요? 특허, 상표, 디자인 등 지식재산권 전문 로펌 Park & Associates IP Law, PC (일명 ”Park Patents”)의 대표인 박현종 특허변호사(겸 변리사)입니다. 
저희에 대한 상세한 내용은 저희의 웹사이트 (www.parkpatents.com)를 참조하시기 바랍니다.

금번에는 지난 칼럼들에 이어서 저희 펌에서 진행한 유망한 중소기업의 특허출원 및 등록 사례를 소개해 드립니다. 금번의 내용은 대한민국 김해시에 소재한 경도 상사(주)에서 등록받은 신발 통풍 시스템(Ventilation Sole for Shoes)에 대한 미국 특허등록 건입니다.

경도 상사는 ‘인간 제일 안전존종’의 사훈 아래 1990년에 창립한 이후 우수한 품질과 뛰어난 기술력을 통한 고객과의 신뢰를 바탕으로 특허기술인 ‘신발 통풍 시스템’이 적용된 안전화를 포함한 일반 신발류와 도장, 사상 및 용접에 사용하는 보호 복류(작업복, 두건, 장갑, 앞치마, 각반, 덧신 등)와 도장용 고글, 에어쿨 재킷, 송기마스크 그리고 근∙골격계 예방 보호구 등 12개 제품 군속에 120여 종의 안전보호구를 생산하는 유망 중소기업이며, 지속적인 성장을 통해 향후 세계적인 기업으로 상장하기 위하여 대표와 종업원이 협심 단결하여 매진하고 있습니다. 

경도 상사는 성능 및 효율성이 떨어지고 무겁고 불편한 전통적인 보호장구의 개념에서 탈피하고 작업자의 안전과 편의성, 사용 효율성에 초점을 맞추어 혁신된 제품을 개발하여 사용하는 사람이 선호하는 보호구 시장을 선도하기 위해 노력해 왔다. 경도 상사는 2018년 말까지 87건(국내:61건, 해외:26건)의 산업재산권(특허 포함)을 출원하였으며, 이러한 노력이 결실을 맺어 2007년 5월에 열린 ‘산업/소방/생활안전 발명품 경진대회’에서 특허청장 대상을 수상하였고, 2009년 11월에 K마크 인증, 2010년 10월에 조달청 우수제품 업체로 지정되었으며, 2011년 06월 수출 유망 중소기업 지정, 2012년 7월 ‘제16회 방호장치∙보호구 품질대상’ 품평회에서 고용노동부 장관 대상을 수상하였으며, 명실상부한 최우수 기술을 통한 최우수 안전보호구 생산업체중 하나로 자리매김하고 있다.

금번 미국 특허 건의 명칭은 “VORTEX TUBE”이며, 발명자는 경도 상사의 박춘배 대표이며, 이 특허는 산업현장의 국부적인 냉각 문제에 대한 해결수단의 하나로서 사용되는 냉각장치인 볼텍스 튜브의 구조를 개선하여 차가운 공기와 더운 공기로 분리되는 과정에서 메인 바디가 가열되는 문제점을 해결하여 냉각효율을 개선한 것이다.

경도 상사는 이 신기술을 개발하여 2012년 9월에 한국 특허출원을 하였으며, 이어서 2013년 9월에 미국 특허를 출원을 하였다. 이 미국 특허출원건에서는 저희 펌이 대리인 변호사로 선임되어 출원 이후 2015년 5월 말에 Office Action (거절 사유 통지서)을 받은 후 단 한 번의 성공적인 대응 서류(답변 및 보정서) 제출을 통하여 선행기술과의 차이점을 인정받고 2016년 1월 26일 자로 미국 특허로 등록받게 되었다. 경도 상사는 본 특허기술을 산업현장의 환경개선에 잘 활용하고 있으며, 산업안전과 산업환경 개선을 위한 지속적인 연구개발을 통해 향후 세계적인 산업안전 및 보호장구 업체로서 성장하는 꿈을 현실화시켜 나가고 있다.


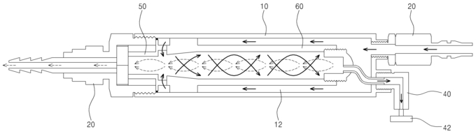
특허번호:  U.S. Patent No. 9,242,207  (발명자:  박춘배) 

발명의 명칭:  VORTEX TUBE

대표 도면:


초록
A vortex tube includes a main body, an inlet coupled to the main body and into which compressed air is introduced, an air circulating chamber installed in the main body, a passage channel through which the air introduced through the inlet passes forwards, a vortex generator configured to enable the air to spin in the air circulating chamber, a cold air-outlet through which cold air is discharged outside from the air circulating chamber, and a hot air-outlet through which hot air is discharged outside from the air circulating chamber.

청구범위(독립항):
1. A vortex tube comprising:
a main body having a hollow tube shape with a cylindrical inner cavity defined in the main body;
an inlet coupled to a back side of the main body and into which compressed air is configured to be introduced;
an air circulating chamber having a hollow tube shape with a cylindrical inner cavity defined in the air circulating chamber, the air circulating chamber installed coaxially in the cylindrical inner cavity of the main body and having an outer passage channel of annular shape defined between a cylindrical inner surface of the main body and a cylindrical outer surface of the air circulating chamber for allowing passage of compressed air through the outer passage channel;
a vortex generator coupled to a front side of the air circulating chamber so as to enable the compressed air being introduced through the outer passage channel to spin and move backwardly into the cylindrical inner cavity of the air circulating chamber;
a cold air-outlet coupled to a front side of the main body and through which cold air is configured to be discharged outside from the cylindrical inner cavity of the air circulating chamber; and
a hot air-outlet coupled to a back side of the air circulating chamber and through which hot air is configured to be discharged outside from the cylindrical inner cavity of the air circulating chamber.


Park & Associates IP Law, PC
박현종 미국 특허 변호사(겸 변리사)

로펌 웹사이트 : http://www.parkpatents.com
로펌 주소:  265 Bic Drive, Suite 106, Milford, CT 06461, USA
Tel :  203-702-7102 | (Fax) 718-554-1956
E-mail : parkpatents@gmail.com; hpark@parkpatents.com


박현종 미국 특허 변호사 기자 hpark@parkpatents.com
Copyright @2016-2026 www.ksvalley.com All Rights Reserved.

Copyright ©2016-2026 www.ksvalley.com All Rights Reserved